Suzuki Cultus Electrical Wiring Diagram Savage 650 Wiring Diagram
Suzuki wiring diagram. Suzuki cultus wiring diagram. Pin by phyllis on suzuki in 2020
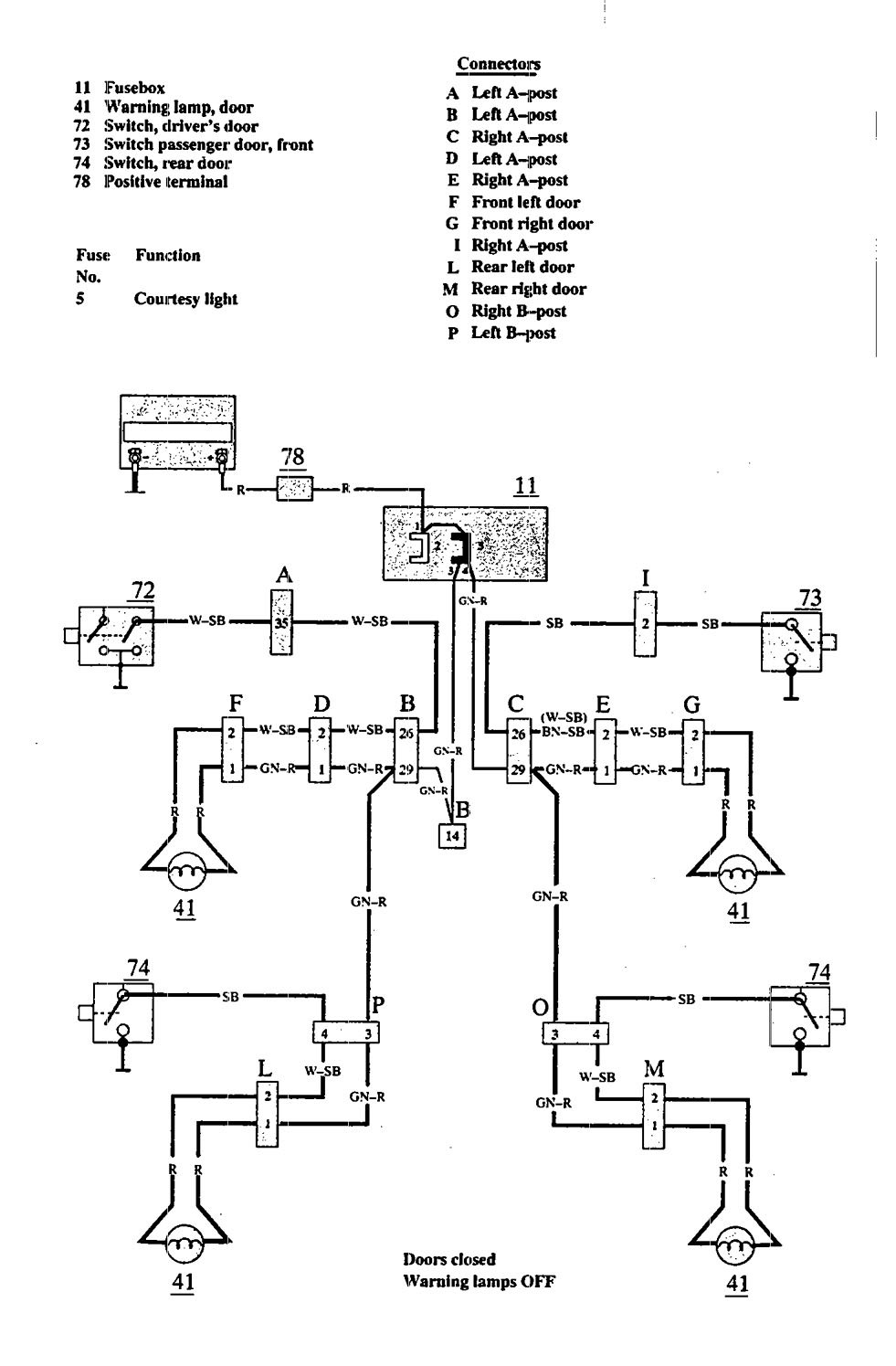
suzuki cultus electrical wiring diagram
Download PDF
25 f4i wiring diagram


Suzuki service manual motorcycle & atv wiring diagrams 1996 "t" models. Pin by phyllis on suzuki in 2020. Fuse diagram for 06 mb. Vw golf plus 2009 manual pdf
Suzuki Samurai Distributor Wiring | Wiring Library
Wiring Diagrams For A Suzuki Carry | schematic and wiring diagram
Pin by phyllis on Suzuki | Diagram, Motorcycle wiring, Electrical
Vw Golf Plus 2009 Manual Pdf
Maruti Esteem Electrical Wiring Diagram Top Suzuki G Engine, Wikipedia

Comments
Post a Comment